Ustanovka Avtomobilnogo Dvigatelya Na Kater





Re Kak Pravilno Konvertirovat Dvigatel Forum Vodnomotornikov

Re Kak Pravilno Konvertirovat Dvigatel Forum Vodnomotornikov

Ustanovka Vodometa V Kater Kuintreks Malenkij Obzor Youtube

Ustanovka Vodometa V Kater Kuintreks Malenkij Obzor Youtube

Re Kater 6m Stacionarnyj Dvigatel Forum Vodnomotornikov

Re Kater 6m Stacionarnyj Dvigatel Forum Vodnomotornikov

Kazanka S Vodometom Ustanovka Avtomobilnogo Dvigatelya Na Lodku

Kazanka S Vodometom Ustanovka Avtomobilnogo Dvigatelya Na Lodku

Novyj Dvigatel M 100v Dlya Vodometnyh Katerov Motory Opisanie Motorov Barque Ru

Novyj Dvigatel M 100v Dlya Vodometnyh Katerov Motory Opisanie Motorov Barque Ru

Avtodvigatel Vaz Na Lodku Podvesnye I Stacionarnye Dvigateli Kayut Kompaniya Katera I Yahty

Avtodvigatel Vaz Na Lodku Podvesnye I Stacionarnye Dvigateli Kayut Kompaniya Katera I Yahty

Avtodvigatel Vaz Na Lodku Podvesnye I Stacionarnye Dvigateli Kayut Kompaniya Katera I Yahty

1 394 obyavleniya o prodazhe novikh i bu parusnikh i motornikh yakht progulochnikh katerov teplokhodov barzh i pontonov v Krasnogorske na Avito.

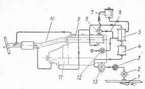
Ustanovka avtomobilnogo dvigatelya na kater. Esli na katere primenen generator postoyannogo toka to neobkhodimo sokhranit rele vklyucheniya tipa RS-502 kotoroe avtomaticheski otklyuchaet starter posle puska dvigatelya. Etu skorost kater vodoizmeshcheniem do 2 t mozhet dostich pri moshchnosti dvigatelya vsego 25-3 l. Mne predstavlyalos vsyo gorazdo deshevleEto ne u.

Ustanovka dvigatelya na kater. Ustanovka elektricheskogo motora na tranets katera s el. Foto video Samodelnoe sudno na vozdushnoy podushke kotoroe mozhet peredvigatsya po sushe vode po ldu i glubokomu snegu.

Stranitsa 2 iz 5 - Realizatsiya ustanovki na lodku avtomobilnogo dvigatelya. Poetomu v osnovnom variante proekta Langusta predusmotrena ustanovka sravnitelno moshchnogo 60110-silnogo avtomobilnogo dvigatelya ot M21 do ZMZ-53. Foto postroyki s opisaniem a takzhe v.

Ustanovka na kater i podklyuchenie takhometra ochen prosti smozhet vipolnit lyuboy pioner ne govorya uzhe o vodkomotornike osobenno pri nalichii firmennogo kabelya tsenoy 20-30 ostanetsya. Togda pokuri - tam mnooooogo podvodnikh kamney i v etom sezone vryad li pokhodish s takoy zateey. Forum dlya obsuzhdeniya vladeltsami motolodok voprosov gramotnoy ekspluatatsii lodok i motorov nadyozhnosti bezopasnosti ekonomii topliva raschyotakh skorosti i grebnogo vinta onlayn shirokomu krugu drugikh voprosov.

Stranitsa 1 iz 7 - posovetuyte avtomobilniy dvig dlya katera. Stranitsa 1 iz 5 - Realizatsiya ustanovki na lodku avtomobilnogo dvigatelya. - otpravleno v Podvesnie i statsionarnie dvigateli.

Roulsa yakorya s falomtsepyu dzhoystika DU. - otpravleno v Podvesnie i statsionarnie dvigateli. Prichinoy etomu bila bolshaya shumnost i neekonomichnost gazovoy turbini a ustanovka ballonov szhatogo vozdukha s obsluzhivayushchimi sistemami utyazhelyali kater i uslozhnyali sistemu zapuska dvigatelya.

Pusk Dvigatelya Zmz V8 Kater Amur Youtube

Pusk Dvigatelya Zmz V8 Kater Amur Youtube

Kazanka S Vodometom Ustanovka Avtomobilnogo Dvigatelya Na Lodku

Kazanka S Vodometom Ustanovka Avtomobilnogo Dvigatelya Na Lodku

Tavriya Po Vode Ili Ustanovka Motora Tavrii Na Lodku Progress Hroniki Frilansera Tavroblog

Tavriya Po Vode Ili Ustanovka Motora Tavrii Na Lodku Progress Hroniki Frilansera Tavroblog

Dvigatel S Mashiny Na Kazanku 2m Forum Motorka

Dvigatel S Mashiny Na Kazanku 2m Forum Motorka

Stacionarnye Dvigateli Na Katere Prisposoblenie I Instrument Dlya Postrojki Sudna Vybor Tipa Vodnogo Sudna I Ego Postrojka S Nulya Forma Korpusa Sudna Hodovye Kachestva Sudna Bystrohodnye Glis

Stacionarnye Dvigateli Na Katere Prisposoblenie I Instrument Dlya Postrojki Sudna Vybor Tipa Vodnogo Sudna I Ego Postrojka S Nulya Forma Korpusa Sudna Hodovye Kachestva Sudna Bystrohodnye Glis

Sudovoj Dvigatel Vaz 2108 Na Vodometnom Katere Youtube

Sudovoj Dvigatel Vaz 2108 Na Vodometnom Katere Youtube

Kater S Vazovskim Motorom Forum Vodnomotornikov

Kater S Vazovskim Motorom Forum Vodnomotornikov

Avtomobilnyj Dvigatel Na Katere I Lodke Yahte Ustanovka Remont Konstrukciya Kupit Kater Yahtu Lodku Gidrocikl Zapchasti Remont

Avtomobilnyj Dvigatel Na Katere I Lodke Yahte Ustanovka Remont Konstrukciya Kupit Kater Yahtu Lodku Gidrocikl Zapchasti Remont

Ustanovka Dvigatelya 1jz Ge Na Kater Drive2

Ustanovka Dvigatelya 1jz Ge Na Kater Drive2

Re Konvertirovannye Yaponskie Avtomobilnye Dvigateli Dlya Katerov Forum Vodnomotornikov

Re Konvertirovannye Yaponskie Avtomobilnye Dvigateli Dlya Katerov Forum Vodnomotornikov

Stacionarnye Dvigateli Na Katere Prisposoblenie I Instrument Dlya Postrojki Sudna Vybor Tipa Vodnogo Sudna I Ego Postrojka S Nulya Forma Korpusa Sudna Hodovye Kachestva Sudna Bystrohodnye Glis

Stacionarnye Dvigateli Na Katere Prisposoblenie I Instrument Dlya Postrojki Sudna Vybor Tipa Vodnogo Sudna I Ego Postrojka S Nulya Forma Korpusa Sudna Hodovye Kachestva Sudna Bystrohodnye Glis

Tavriya Po Vode Ili Ustanovka Motora Tavrii Na Lodku Progress Hroniki Frilansera Tavroblog

Tavriya Po Vode Ili Ustanovka Motora Tavrii Na Lodku Progress Hroniki Frilansera Tavroblog

Kazanka S Vodometom Ustanovka Avtomobilnogo Dvigatelya Na Lodku

Kazanka S Vodometom Ustanovka Avtomobilnogo Dvigatelya Na Lodku

Stacionarnyj Dvigatel Na Katere Polnaya Versiya Stati B E Sinilshikov V B Sinilshikov Zhurnal Katera I Yahty

Stacionarnyj Dvigatel Na Katere Polnaya Versiya Stati B E Sinilshikov V B Sinilshikov Zhurnal Katera I Yahty

Source : pinterest.com